Самостоятельное изготовление домкрата
Практически каждый человек может сделать своими руками домкрат при наличии соответствующего опыта и всех необходимых деталей. Стоит отметить, что самостоятельная сборка на практике всегда выходит дешевле покупки готового оборудования. При создании такого устройства можно использовать различные схемы, хотя в целом выполнение работ остается одинаковым.
- Сначала необходимо сварить пару реечных труб так, чтобы они визуально напоминали усеченную пирамиду.
- После этого из листа стали толщиной в 5 мм создается верхнее и нижнее основание.
- В верхней части подготавливается отверстие, где будет впоследствии приварена гайка. Подобное отверстие делают и в нижнем основании, однако туда вставляют механический пруток, необходимый для вращения.
Стоит отметить, что для создания домкрата своими руками лучше брать детали, выполненные из закаленной стали. Если говорить о винте, то оптимальным решением станет изделие с трапецеидальной резьбой. Правильно изготовленное устройство можно смело применять при ремонте автомобилей и выполнении строительных работ. Если подсоединить сюда металлический трос, то домкрат сможет заменить собой лебедку. Подобное устройство поднимет груз весом в 5–20 т.
Схема работы
Если вы хотите купить реечный домкрат для собственных нужд или с целью использовать на своем СТО, то для начала следует определиться с их разновидностями – всего их две.
- Зубчатый. Имеют рукоятку и шестеренки, которые приводятся в движение с ее помощью.
- Рычажный. Такие модели осуществляют поднятие и опускание грузов при помощи давления, оказываемого на рычаг устройства.
Также реечные домкраты делятся на ручные и электрические – при этом они могут быть зубчатыми или рычажными. С инструментами ручного типа все просто – их используют в основном обычные автомобилисты, у которых не так уж и часто возникает в этом необходимость. Электрический привод в свою очередь будет полезен в специализированных мастерских, когда необходимо осуществить подъем максимально быстро и при минимальных усилиях.
Принцип работы
Чтобы в полной мере понять принцип действия реечного домкрата, необходимо сначала иметь представление о его устройстве. Конструкция современных моделей Hi Jack включает в себя следующие элементы:
- верхняя скоба и ее болт;
- рейка так называемого дырчатого типа;
- переключатель и болт переключателя с шайбой и гайкой;
- ручка (рычаг), выполненная из металла, с держателем и фиксатором;
- шатун, ось и болт шатуна;
- большая подъемная площадка, имеющая так называемый клюв;
- возвратная планка и пружина;
- перекрестные и подъемный пальцы;
- пружина подъемного пальца;
- малая площадка;
- «пятка» и шплинт.


Алгоритм функционирования всех домкратов реечного типа основан на перемещении нагрузки между двумя упомянутыми выше площадками, размещенными на рейке. При этом за передачу давления отвечает шатун. На первоначальном этапе подъема ручка располагается строго вертикально, а вся нагрузка приходится на большую площадку. Как только рычаг опускается, шатун упирается в малую платформу. Она, в свою очередь, передает нагрузку на верхний упор до тех пор, пока палец не окажется в следующей ячейке.

Опускание груза осуществляется в обратном порядке. Малая площадка принимает на себя всю нагрузку при горизонтальном положении рычага. В процессе подъема рукоятки большая платформа направляется вниз до тех пор, пока штифт не окажется на одно отверстие рейки ниже.

Рейтинг моделей
Хороший результат дают домкраты грузоподъемностью 2 т. Например, «Зубр Мастер 43040-2». Это винтовое устройство имеет высоту подхвата 0,12 м. Грузы будут подняты на высоту до 0,395 м. Собственная масса подъемника составляет 3,5 кг; он вполне достаточен для работы с легковыми автомашинами.

Грузоподъемность 3 т имеет домкрат «Автодело 43330». Основной механизм — специальная рейка. Высота подъема достигает 0,645 м. Подхват грузов возможен на высоте 0,13 м.


Если надо поднимать груз 70 т, придется покупать не механический, а сверхмощный гидравлический домкрат. А вот для подъема автомобилей общей массой 5 т пригодится винтовая бутылочная модель TOR. Высота подхвата составляет не менее 0,25 м. Над этой высотой груз будет поднят на 0,13 м. Собственная масса изделия — 5,6 кг.

Модель ДР (SWL) сумеет поднять до 10 тонн груза. Основной инструмент подъема — специальная рейка. Высота подхвата равна 0,8 м. Сухая масса домкрата — 49 кг. Ход рейки — 0,39 м; а вот найти механические ручные модели с грузоподъемностью 15 т невозможно.

На эту величину рассчитан, к примеру, пневмогидравлический аппарат Mega. Полная грузоподъемность модели достигает 30 тонн. Подхват будет происходить на высоте 0,15 м. Наибольшая высота подъема — до 3 м. Собственная тяжесть составляет 44 кг.

Подъем 70 тонн груза возможен с помощью гидравлического устройства «Энерпред ДН25П70Т». Разработкой и производством данной модели занимается российская компания. Создатели утверждают, что их продукт можно применять в самых разных отраслях промышленности. Ход штока составит 0,031-0,039 м. Рабочая емкость гидравлического картера — 425 куб. см.

Модельный ряд
Реечные домкраты MATRIX High Jack позволяют своему владельцу плавно поднимать груз на нужную высоту.
MATRIX High Jack 505155. Состоит из несущей рейки с зацепной петлей, которая может использоваться как лебёдка. На любой плоскости обеспечит устойчивость и широкая опора. Грузоподъемность такого домкрата – 3 т, высота подъема – 660 мм, а подхват по высоте равен 135 мм.





Несомненным преимуществом бренда MATRIX является использование высококачественного металла с антикоррозийным покрытием для своих домкратов. Транспортировка производится с применением монтажных защелок, что позволяет владельцам разместить механизм даже на крыше автомобиля. Такое качество, как эргономичность, необходимо, чтобы использовать агрегат быстро и эффективно.
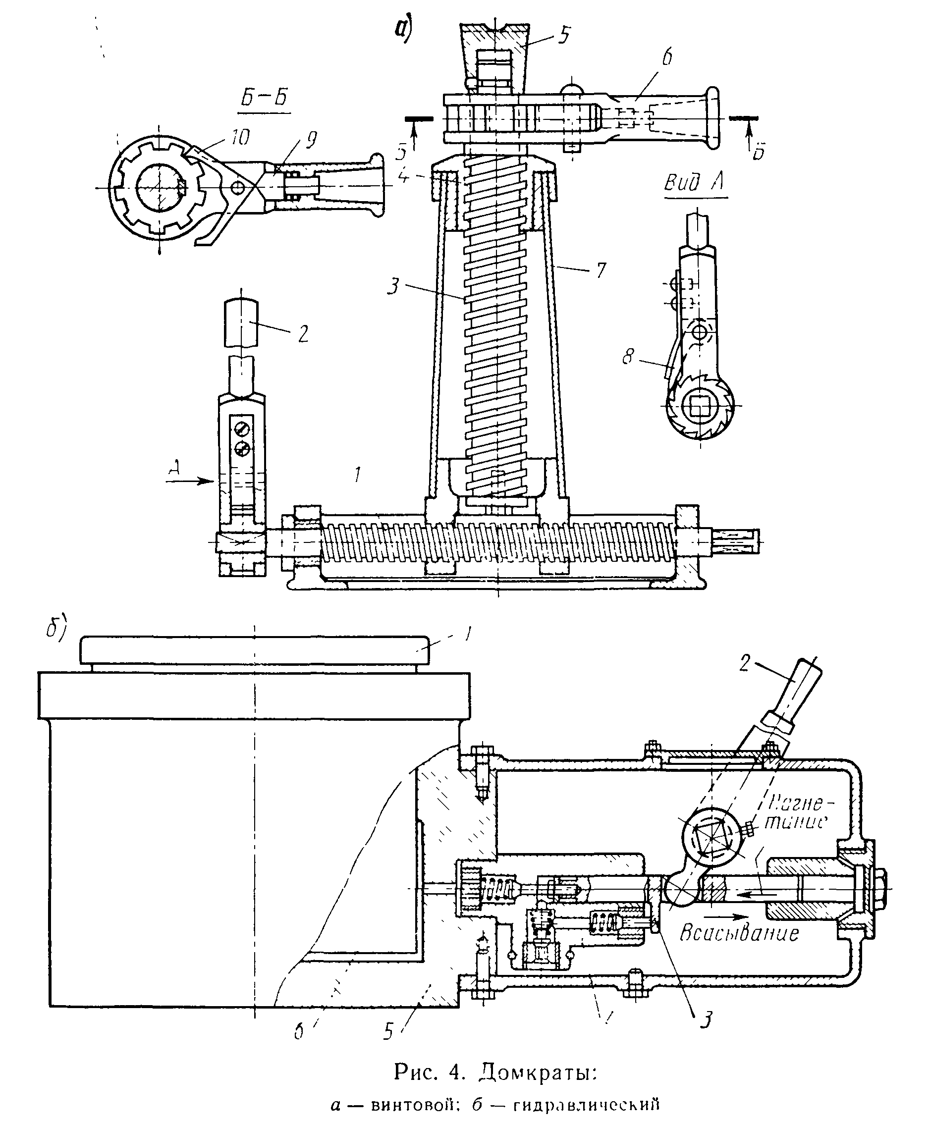
Устройство гидравлического домкрата бутылочного типа
Для работы нуждается в некотором свободном пространстве вокруг машины и ровной, жесткой поверхности.
Поднятие происходит за счет действия гидравлического поршня на рычажную систему.
При этом главная отличительная черта — это грузоподъемность.
Собственный вес — вес домкрата в рабочем состоянии. Для того чтобы привести механизм в действие достаточно оказать нагрузку на рычаг.
На чертеже гидравлического домкрата содержатся дополнительные элементы, которые могут быть установлены. Простые и удобные реечные домкраты : Основной деталью реечного домкрата является грузонесущая стальная рейка с опорной чашкой для груза. Устойчивость в основном зависит от площади опорной площадки и от жесткости ее соединения с другими деталями домкрата.
Устройство домкрата бутылочного типа
Устройство гидравлического домкрата довольно простое, за счет чего обеспечивается длительный срок службы. Необходимо точно определить место течи и отремонтировать. Актуален для автосервиса. Нижний конец рейки лапа имеет прямой угол для подъема грузов с низко расположенной опорной поверхностью. В продаже встречаются модели с неразборным механизмом, которые относятся к категории необслуживаемых устройств.
В зависимости от направления вращения рукоятки винт поднимает или опускает откидной подхват. Однако для этого потребуется доработка гидравлического механизма. Приспособление используется в большинстве случаев в сервисах по ремонту и обслуживанию автомобилей. У бутылочного гидродомкрата есть две модификации — одноштоковые и двухштоковые. Для некоторых видов домкратов актуальна так же характеристика передаточного числа — например соотношение площади плунжера гидравлического насоса с площадью подъемного плунжера в гидравлических домкратах.
ремонт домкрата подкатного за 10 минут
Конструкция гидравлического домкрата
Принцип действия гидравлического домкрата. На рынке представлены гидравлические домкраты разного типа.
Если соблюдать условия хранения и эксплуатации, то это он прослужит вам очень долго.
К основным преимуществом рассматриваемого механизма можно отнести нижеприведенные моменты: Простота эксплуатации. Другие типы устройств для поднятия груза Кроме гидравлических устройств для поднятия груза также выделяют: винтовые; реечные; пневматические. Устройство гидравлического домкрата Гидравлические домкраты можно назвать незаменимыми механизмами при проведении самых различных работ.
Актуален при замене колеса на автомобиле. Подкатной подъемник является телегой на колесиках, которая может передвигаться по ровному основанию.
Какой использовать домкрат и как его доработать
Эксплуатировать данное устройство можно исключительно на ровном основании. При выборе необходимо учитывать грузоподъемность- максимальное усилие, развиваемое домкратом. Широко применятся везде, где работают с грузами. Для работы нуждается в некотором свободном пространстве вокруг машины и ровной, жесткой поверхности. Заправить агрегат не сложно, но постоянно делать это никому не захочется.
Устройство гидродомкрата Схема принципа работы и устройства гидравлического домкрата Чтобы сделать расчет гидравлического домкрата для его покупки или самостоятельной сборки, рекомендуется узнать, какая схема, устройство и конструктивные особенности у данного приспособления. По типу передаточного механизма реечные домкраты делятся на рычажные и зубчатые. И это не предел увеличиваю разницу в длине рычага или в соотношении насосного плунжера и выходного поршня можно увеличивать соотношение усилий.
Устройство гидравлического домкрата. Пневматический домкрат- излюбленный инструмент автолюбителей.
Ремонт гидравлического домкрата бутылочного типа. Полная разборка, сборка.
Как пользоваться
У описываемого типа домкрата имеется не так много подвижных частей. Среди них подвижная каретка, на которой находится рычаг, и механизм переключения направления. Их всего 2: вверх и вниз. Сам механизм довольно тугой и переключается не плавным натягом, а резким ударом руки.

Когда механизм стоит в положении вниз, а рукоятка зафиксирована, то каретка свободно передвигается по всей рейке. Если на механизме выставлено положение вверх, то каретка работает по принципу реверсного ключа и передвигается с характерным треском только вверх по рейке. Это необходимо для того, чтобы быстро подготовить домкрат к работе.

Перед началом подъема необходимо выставить правильный угол домкрата относительно машины. Его нельзя ставить строго перпендикулярно земле, если необходим подъем на большую высоту. Во время подъема машины домкрат будет стремиться наклониться в ее сторону и может выскользнуть и повредить автомобиль. Поэтому домкрат необходимо немного наклонять в противоположную сторону от машины. Когда вы закончили подъем, обязательно сложите ручку.

Чтобы опустить машину, нужно переключить механизм направления в положение спуска, при этом рукоятка должна быть зафиксирована параллельно рейке. В этот момент и происходит все самое интересное и опасное. Когда вы машину поднимаете, то тем самым постепенно наращиваете усилие, прилагаемое на ручку. В момент опускания все происходит с точностью наоборот. Когда рычаг находится под углом 90 градусов к рейке, и механизм перещелкивается на 1 отверстие, рычаг высвобождает энергию в обратной последовательности (от большей к меньшей). То есть, в этот момент нужно быть максимально внимательным и готовым к возможному выскакиванию ручки из руки.
Во время работы помните о том, что подобный домкрат – это вещь, с которой нужно уметь работать, чтобы сохранить свое здоровье. Нельзя держаться свободной рукой за рейку «открытым хватом», то есть, чтобы ваш большой палец был на пути отскочившей рукоятки. Возвратное усилие рукояти прямо пропорционально нагрузке на пятку домкрата.
В случае соскальзывания правой руки с ручки во время нажатия она по инерции ударится о рейку. Если на ее пути будет находиться большой палец руки, то велика вероятность не просто перелома, а полного раздробления кости. То же самое касается и головы оператора. Недопустимо нахождение головы на траектории отскока рукоятки.

Причины поломок и ремонт домкратов
Естественно, что как и любая техника, гидравлический домкрат требует определенного обслуживания в которое входит доливка масла и визуальный осмотр. А через определенное время делается его промывка и полная замена масла с прокачкой.
Чаще всего у гидродомкрата выходят из строя прокладки и сальники, по этой причине начинает подтекать масло из рабочей емкости. Кроме этого, может возникнуть такая неисправность, как заклинивание штока при его обратном ходе.
При первой течи масла домкрат нужно отремонтировать, иначе в дальнейшем может произойти заклинивание штока. Для этого следует слить масло, разобрать и заменить сальники с уплотнителями, после чего залить новую жидкость и произвести прокачку.
Шток инструмента может заклинить от накопившейся в жидкости грязи, которая попадает через сальник по штоку, или от возникшей на внутренней стенке домкрата коррозии. В этом случае, чтобы починить заклинивший шток, инструмент разбирается и тщательно промывается. При обнаружении коррозии следует произвести специальную обработку стенок подъемника.
Существуют и другие причины выхода из строя оборудования, при возникновении которых оно перестает полноценно работать. В основном это связано с несвоевременным обслуживанием и неправильной эксплуатацией инструмента, когда превышаются нагрузки, указанные в его паспортной характеристике. Все это приводит к его поломке и, естественно, к ремонту, который иногда может стоить очень дорого.
Часто встречающиеся поломки:
- Остановка подъемного поршня. Может быть, из-за отсутствия масла или засорение фильтра. Чтобы выяснить причину остановки, следует разобрать механизм, промыть его и залить свежую жидкость.
- Поршень не поднимается совсем. Скорее всего, отсутствует жидкость в резервной емкости домкрата.
- Поршень выдвигается медленно или рывками. В рабочем отделении устройства присутствует воздух. В таком случае нужно долить масла в подъемник и произвести его прокачку.
- Слабое давление на поршень. Нужно отремонтировать либо заменить впускной клапан.
Практически все причины отказа работы подъемника можно обнаружить и отремонтировать после его разборки. Но если неисправность возникла по причине механического повреждения корпуса домкрата или его поршня — лучшим вариантом будет его списание и приобретение нового инструмента.
Реечные домкраты
Спецификацию моделей и характеристики уточняйте в разделе домкраты реечные ДР
Среди других видов домкратов, самыми распространенными для ремонтных, строительных, монтажных и демонтажных работ считаются реечные домкраты. Для реечных домкратов характерно то, что конец рейки отогнут на 90 градусов. С помощью такой конструкции не составит труда поднять груз даже с низко размещенной опорной поверхностью, т.к. сам реечный домкрат обладает низко расположенной подъемной площадкой. Встречаются модели, где высота этой площадки составляет всего 9см.
Среди реечных домкратов различают рычажные и зубчатые. Рычажные. Конструкция рычажных домкратов представляют собой качающийся приводной рычаг, который выдвигает рейку. Зубчатые. В зубчатых домкратах приводной рычаг заменен на шестеренку, которая вращается при помощи приводной рукоятки. Чтобы груз был надежно зафиксирован на определенной высоте и в нужном положении, одна из шестеренок снабжена храповиком с «собачкой».
Общее для зубчатых и рычажных домкратов является наличие грузонесущей рейки с опорной чашкой. Стопорные устройства помогают удерживать груз на этой чашке.
Реечные домкраты прекрасно подходят для подъема грузов весом весом до 6 т, от 6 до 15 т и свыше 15 т, для этих целей используют реечные домкраты одно, двух, или трехступенчатой передачи. Такие домкраты можно использовать и в вертикальном и в горизонтальном положении, они удобны в эксплуатации, обладают грузоподъемностью от 2 до 20 т, хорошо ремонтируются и являются универсальным средством для подъема и фиксации груза.
Очень популярны и универсальны в эксплуатации зубчатые домкраты чешской компании Brano. Их грузоподъемность достигает 20 т и конструкция включает в себя 2 подъемные площадки (верхнюю и нижнюю). Компания Brano выпускает большое количество различных моделей домкратов. Например, модели 15-00, 15-01 и Z23 прекрасно подходят для подъема грузов на строительных площадках, при монтажных работах. Часто их используют при ремонте вагонов и ж/д путей. Конечно, не стоит сбрасывать со счетов и отечественные аналоги реечных домкратов. Как правило, их надежность и качество ничуть не уступает зарубежным.
Принцип работы
Принцип работы подобного механизма довольно простой. Для правильного понимания рассмотрим все его основные элементы:
- масляный поршневой насос;
- рычаг;
- клапан;
- рабочий гидроцилиндр;
- расширительный бак с маслом.
Принцип работы домкрата состоит в том, что во время работы насоса, который приводится в движение путем накачивания в ручном режиме, масло из резервуара подается в рабочий гидроцилиндр, тем самым выдавливая из него шток.



Соответственно, чем больше будет накачено масла в гидроцилиндр, тем дальше выдвинется шток из него. Благодаря этому выдвижению происходит подъем платформы, которая жестко соединена со штоком.
Во время процесса накачивания масла подъемный механизм должен находиться непосредственно под машиной таким образом, чтобы его подъемная платформа упиралась в специальное место на кузове. Как только необходимая высота будет достигнута, нужно перестать качать масло, и домкрат останется на этой высоте. После подъема груза желательно снять ручку, которой вы качали, чтобы случайно не нажать на нее и не добавить масла в цилиндр, – это может быть опасно для жизни и здоровья.
После завершения всех работ нужно снова опустить машину. Сделать это очень просто. Нужно найти на механизме перепускной клапан и немного его приоткрыть, чтобы масло могло перетечь обратно в расширительный бак, и происходит опускание домкрата. Чтобы нагруженный инструмент не падал слишком резко, открывать перепускной клапан нужно плавно и понемногу.
Чтобы не допускать ошибок и правильно работать с описываемым устройством, перед началом его эксплуатации необходимо ознакомиться с инструкцией, которая всегда идет в комплекте с самим аппаратом. Кроме этого, за изделием необходимо ухаживать и вовремя проводить профилактику. Соблюдая все описанные в руководстве по эксплуатации рекомендации, ваш домкрат прослужит очень долго.


Подкатной домкрат 3 т: что лучше приобрести?
В первую очередь при выборе домкрата важно обращать внимание на его параметры. Минимальная высота подъема устройства обязана равняться 130 мм. Пятки чаще всего устанавливаются с шириною 4 см
Для грузоподъемности в 3 тонны это считается нормальным. Далее важно оценить максимальную высоту подъема. Данный показатель не должен превышать 320 мм. При длине в 28 см домкрат обязан весить не более 7 кг. Если говорить про конструктивные особенности, то в первую очередь оценивается подъемный механизм
Пятки чаще всего устанавливаются с шириною 4 см. Для грузоподъемности в 3 тонны это считается нормальным
Далее важно оценить максимальную высоту подъема. Данный показатель не должен превышать 320 мм
При длине в 28 см домкрат обязан весить не более 7 кг. Если говорить про конструктивные особенности, то в первую очередь оценивается подъемный механизм.
Ручка должна свободно вращаться. Верхняя часть ее, как правило, прорезинена. Выпускные клапаны в устройстве обязаны быть защищены. Модели с открытиями заглушками не советуется выбирать. Отдельно следует рассмотреть соединительную пластину. Шов на ней должен быть аккуратным и ровным. Возвратная пружина во многих модификациях устанавливается в задней части. Обойдется в среднем модель хорошего производителя в районе 3400 руб.

Принцип функционирования гидравлического подъемного приспособления
Принцип работы гидравлического домкрата основан на применении в конструкции аппарата сообщающихся сосудов с рабочим телом, роль которого выполняет специальное масло. Перед использованием устройство требуется разместить на ровной твердой поверхности и закрыть перепускной клапан. После установки и подготовки агрегата можно использовать его в работе.

Принцип функционирования гидравлического подъемного приспособления.
Подъем штока с пятой осуществляется при помощи насоса, нагнетающего рабочую жидкость в специальный цилиндр.
За счет свойства жидкости противодействовать сжатию при повышении давления происходит перемещение поршня в рабочем цилиндре. Это приводит к движению штока с подъемной пятой. Спуск последней происходит при помощи открытия перепускного клапана против часовой стрелки.
Перекачивание рабочего масла осуществляется приводным насосом и рычагом, установленным на нем. Масло перемещается из насоса в рабочий цилиндр через специальный клапан.
Возврату жидкости в процессе работы аппарата препятствуют два клапана: нагнетательный и всасывающий.
Для установки подъемника в исходное положение в его конструкции предусмотрен специальный клапан, при открытии которого происходит перетекание рабочей жидкости из цилиндра в насос агрегата.
Для осуществления подъема специальная пята изготавливается из высокопрочной стали. Усилие гидродомкрата регулируется при помощи встроенного манометра.
Типы гидравлических домкратов
Если говорить о типах домкратов, то, несомненно, самыми мощными из них являются гидравлические (исходя из особенностей формы, их еще называют гидравлическими домкратами бутылочного типа). Такие модели с легкостью могут работать с объектами весом в 20, 25 и даже 50 тонн. И это еще не предел. Например, домкрат гидравлический ДГ-100, PRO JACK отлично подходит для поднятия грузов в 100 тонн.

В результате, это обуславливает сферу их использования: гидравлические домкраты разных видов широко применяют во время ремонта грузовых авто и остальной тяжелой техники.
Состоит подобное оборудование из таких основных элементов, как корпус, выдвигаемый поршень (плунжера) и рабочая жидкость. Схема гидравлического домкрата бутылочного типа выглядит так:

При этом корпус служит сразу для двух целей: в качестве направляющего цилиндра для плунжера, а также резервуара для масла. В поршне находится винт с подъемной пятой, так что при повороте винта можно увеличить предельную высоту подъема.
Устройство домкрата бутылочного типадомкрата бутылочного типа предполагает, что усилие передается от приводной рукояти через рычаг к насосу. Во время движения вверх жидкость перетекает в полость насоса и выдвигает плунжер (обратно не перетекает благодаря клапанам). Чтобы опустить груз, следует отвернуть запорную иглу, тогда жидкость вернется в резервуар.
Среди основных типов выделяют:
- одноплунжерные;
- многоплунжерные.
Стоит отметить: Несмотря на свою достаточно большую надежность, такое оборудование – очень прихотливое. Нужно постоянно заливать масло в домкрат бутылочного типа, проверять герметичность сальников. Кроме того, хранить устройство можно исключительно в вертикальном положении. Кроме того, не рекомендуется выполнять ремонт домкрата бутылочного типа своими руками в силу сложности конструкции. Лучше обратиться за помощью к профессиональным специалистам, которые имеют соответствующие сертификаты (ознакомиться с документацией вы можете на сайте).
Из основных достоинств модели выделять:
- высокую жесткость конструкции;
- хорошие показатели устойчивости;
- максимальную грузоподъемность;
- небольшие усилия при работе с грузами.
Из недостатков домкрата бутылочного типа выделяют достаточно солидную стоимость и большую начальную высоту подъема.
Домкраты подкатные
Такие устройства используются, в основном, в гаражах или автосервисах. Если применять подкатные домкраты прямо на дороге, то высока вероятность поломки оборудования. Они представляют собой измененные гидравлические домкраты (отличаются низким стальным корпусом с небольшими колесиками). Рукоять с подъемной пятой выдвигается поршнем.

Основные плюсы – отличная устойчивость и малая начальная высота. В то же время, работать с таким оборудованием можно исключительно на ровном и твердом покрытии.


















































